|
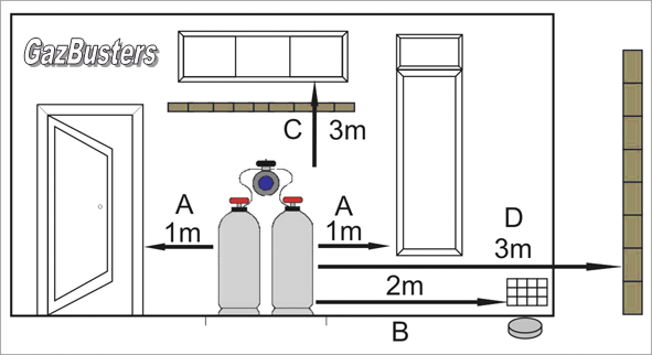
If you already have a Gas line installed but you don't know if it
is legal, compare it to the following diagram. Give GazBusters a
call just to make sure!

A - 1m sideways from Doors and Windows
B - 2m from Drains and Air Vents
C - 3m below windows, unless non combustible roof is installed between
containers and windows
D - 3m from property boundary unless boundary is a Fire Wall
E - 5m away from a switchable electrical point i.e. plug socket,
mains power, motor, distribution board, etc. (not a light)
Only Class 1 or 2 copper pipe can be used. NOT what is used in
plumbing.
All pipes going through a wall must be sleeved.
Flexible hose may not be more than 2m and may not go through any
partition/wall at all (including wood and dry wall).
|